Toro 22-13KE02 (252-H) - 252-H Tractor, 1989 KAWASAKI FB460V TYPE BS-26 ENGINE #1 Ersatzteile
KAWASAKI FB460V TYPE BS-26 ENGINE #1 22-13KE02 (252-H) - Toro 252-H Tractor, 1989

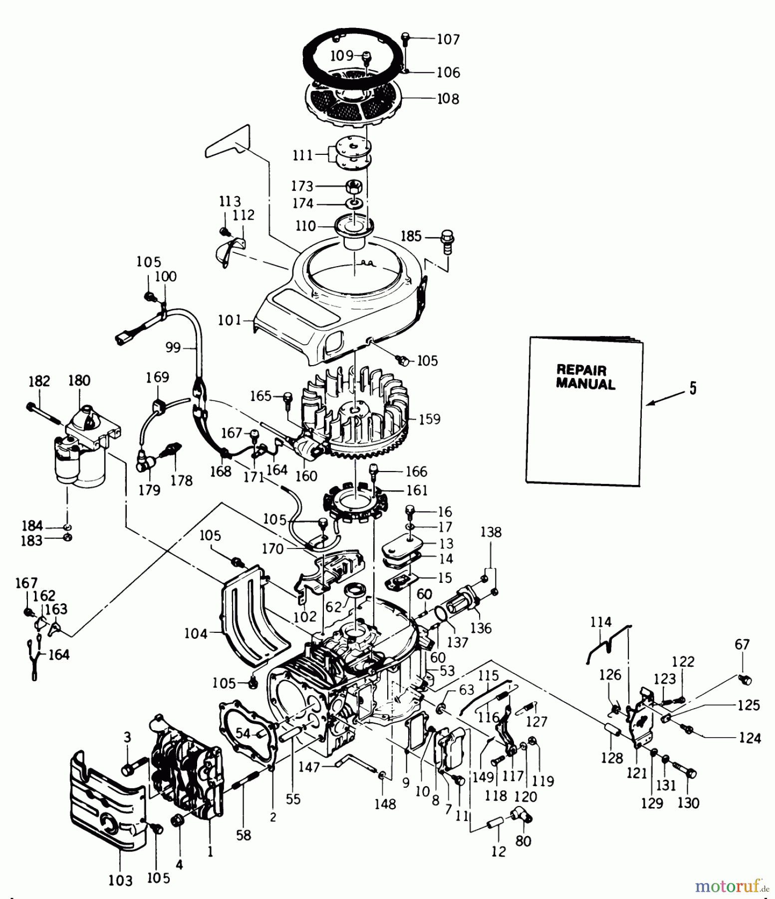
Hier finden Sie die Ersatzteilzeichnung für Toro Neu Mowers, Lawn & Garden Tractor Seite 1 22-13KE02 (252-H) - Toro 252-H Tractor, 1989 KAWASAKI FB460V TYPE BS-26 ENGINE #1. Wählen Sie das benötigte Ersatzteil aus der Ersatzteilliste Ihres Toro Gerätes aus und bestellen Sie einfach online. Viele Toro Ersatzteile halten wir ständig in unserem Lager für Sie bereit.



