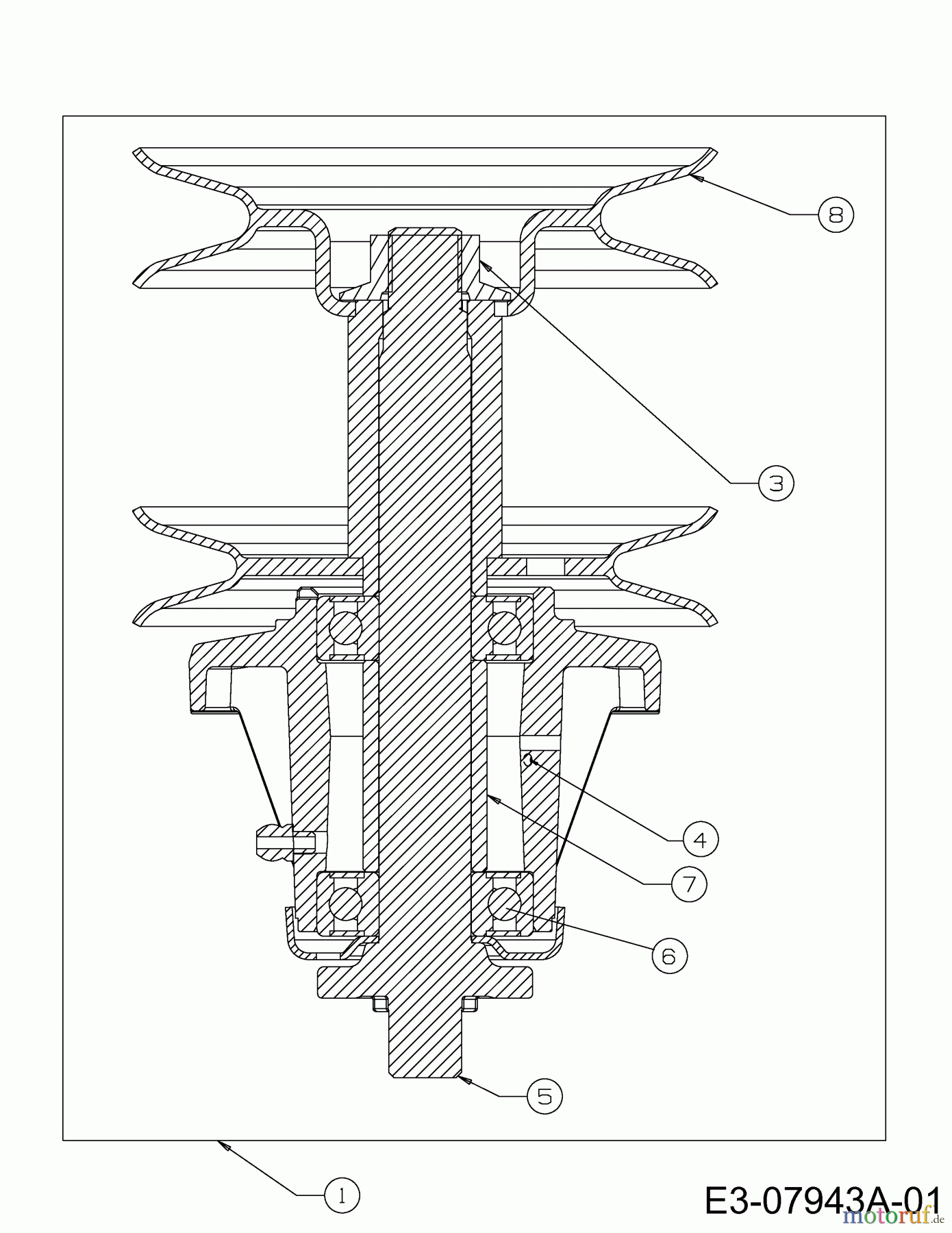
MTD G 200 14AQ808H678 (2004) Messerspindel 618-0595 Ersatzteile
Messerspindel 618-0595 14AQ808H678 (2004)

Hier finden Sie die Ersatzteilzeichnung für MTD Gartentraktoren G 200 14AQ808H678 (2004) Messerspindel 618-0595. Wählen Sie das benötigte Ersatzteil aus der Ersatzteilliste Ihres MTD Gerätes aus und bestellen Sie einfach online. Viele MTD Ersatzteile halten wir ständig in unserem Lager für Sie bereit.






